We sell & repair scales and weighing equipment.

Call: (919) 776-7737
The 20210 from Artech is an economical load cell for use in tank weighing, scale conversions and in-line force measurement applications. The versatile and compact s type load cell works in tension or compression and is lightweight. Matched output available on request (3.0 +- 0.1%)
• 25 to 40,000 pounds capacities
• Used in Tension & Compression
• Nickel/Chrome Plated Alloy Steel
• Complete environmental protection
• NTEP Certified versions available for Class III 5,000 divisions and Class III L 10,000 divisions
• Factory Mutual (F.M.) Approved
Applications
• Electronic Conversion of Mechanical Scale
• Tank, Hopper & Bag Weighing
• Force Measurement - Tension and Compression
• Dynamometers
• Hanging and Crane Scales
• Industrial Automation
• Concrete batching plants
|
Standard Capacities : (lbs.)
|
25, 50, 75, 100, 150, 200, 250, 300, 500, 750, 1K, 1.5K, 2K, 2.5K, 3K, 5K, 10K, 15K, 20K 30K, 40K |
|
Excitation Voltage :
|
10VDC - Maximum 15VDC |
|
Rated Output :
|
3.0 mv/v Minimum |
|
Non-Linearity :
|
< 0.03% FSO (Full Scale Output) |
|
Hysteresis :
|
< 0.02% FSO |
|
Non-Repeatability :
|
< 0.01% FSO |
|
Zero Balance :
|
± 1.0% FSO |
|
Bridge Resistance :
|
350 ohms nominal |
|
Safe Overload :
|
150% of Rated Capacity |
|
Temperature : |
0 - 150 deg. F < 0.0008% FSO/deg. F < 0.0011% FSO/deg. F |
|
Finish :
|
Electroless Nickel/Chrome Plated |

|
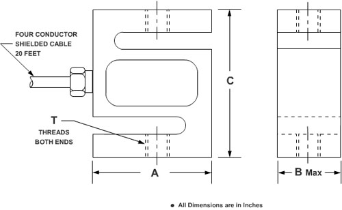
CAPACITY
(lbs.) |
A
|
B Max.
|
C
|
T Threads
|
|
25-300
|
2.00
|
0.75
|
2.50
|
1/4 - 28 UNF - 2B
|
|
500-2.5K
|
2.00
|
1.00
|
2.50
|
1/2 - 20 UNF - 2B
|
|
3K
|
3.00
|
1.25
|
4.00
|
1/2 - 20 UNF - 2B
|
|
5K - 10K
|
3.00
|
1.25
|
4.00
|
3/4 - 16 UNF - 2B
|
|
15K
|
3.50
|
1.50
|
5.50
|
1 - 14 UNF - 2B
|
|
20K
|
4.50
|
2.00
|
7.00
|
1 1/4 - 12 UNF - 2B
|
|
30K - 40K
|
5.75
|
2.75
|
10.00
|
1 1/2 - 12 UNF - 2B
|
